
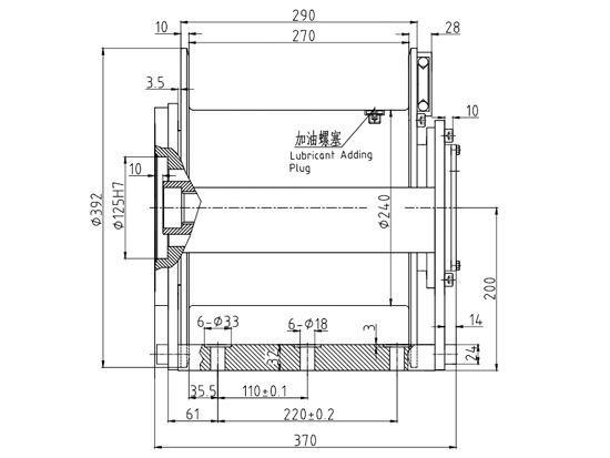
卷?yè)P(yáng)減速機(jī)JQZ760A

卷?yè)P(yáng)減速機(jī)JQZ760A
卷?yè)P(yáng)減速機(jī)JQZ760A 2019-3-21 本文被閱讀 3797 次
| 上一條:卷?yè)P(yáng)減速機(jī)JQZ87 |




泰安今朝機(jī)械制造有限公司
張經(jīng)理:13515383020
王經(jīng)理:13854883386
電 話:0538-8768035 / 8768036
傳 真:0538-8768037
地 址:泰安市泰山區(qū)邱家店工業(yè)園(普瑞特大街)

卷?yè)P(yáng)減速機(jī)JQZ760A

| 上一條:卷?yè)P(yáng)減速機(jī)JQZ87 |
CONTACT US 聯(lián)系我們

張經(jīng)理:13515383020
王經(jīng)理:13854883386
電話:0538-8768035 / 8768036
傳真:0538-8768037



地址:泰安市泰山區(qū)邱家店工業(yè)園
(普瑞特大街)
網(wǎng)址:miegf.com
版權(quán)所有:泰安今朝機(jī)械有限公司 魯ICP備14012410號(hào)-1 